发烧论坛

注册

 

返回列表 «10721073107410751076107710781079» / 1381
发新话题 回复该主题

换胆初感记 [复制链接]

查看: 5282091|回复: 13802
10751#

回复 10757# nnrszgj 的帖子

k6代表长 ECC82.短的是GF.
TOP
10752#

这种管子好少见不知如何?
一支EM 12AU7A 黑屏斜方环
一支Beckman 5963 灰屏斜方环
TOP
10753#

回复 10759# nnrszgj 的帖子

不是太少见的,美国管子产量比较大.所以也便宜.
TOP
10754#

回复 10760# chming666 的帖子

也不一定吧,天梭的墨胆方环就不错~也难找!我觉得可以媲美大盾GF1期的短屏。

我打算弄 2支西屋的发霉长屏试试~~~~
TOP
10755#

美国胆,u7糸列天梭墨屏半.边水银.方环.算好,注意.这胆很难配对,

.......
照片.jpg (, 下载次数:0)

jpg(2010/4/13 21:03:12 上传)

照片.jpg

TOP
10756#

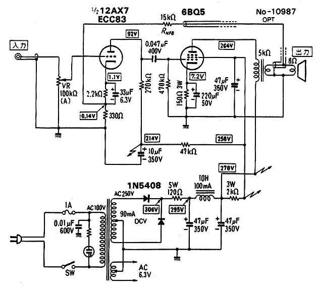
今天改装了我的EL84小单端

今天心血来潮,按下图改制了我的EL84小单端。和原来的线路相比,增加了第一级的放大倍数,全机的放大倍数也增加了。耦合还是TCC瓷封,阴极电容是Philips的轴向和80S的Mallory的FP235,滤波我换上了刚激活的的66年Mallory。用GEC的B339和Valvo的碟片EL84开声。明显比原来的线路声音好。感觉原来的线路增益是低了些,动态,低频的量感不足。
另外我看见还是有很多朋友做6P1的单端,我原来也是6P1,无论如何国产的6P1声音真是没法接受。改成EL84后,用上一些好胆,作用还是很大。我不准备改为胆整流了,放在电脑旁,给LP听音乐。
TOP
10757#

原帖由 Jason_WY_Ma 于 2010-4-13 22:41:00 发表
今天心血来潮,按下图改制了我的EL84小单端。和原来的线路相比,增加了第一级的放大倍数,全机的放大倍数也增加了。耦合还是TCC瓷封,阴极电容是Philips的轴向和80S的Mallory的FP235,滤波我换上了刚激活的的66年Mallory。用GEC的B339和Valvo的碟片EL84开声。明显比原来的线路声音好。感觉原来的线路增益是低了些,动态,低频的量感不足。
另外我看见还是有很多朋友做6

TOP
10758#

ma兄:帮看看这只管子,光头的马可尼T7,朋友拣到的,我拿来试听,声音好得没话可说。他说顶部的水银都掉光了,可我看似乎原来就是光头的。
PHILIPS CD880 CDPLAYER  +  HEATHKIT AA-151AMPLIFIER +  Jensen PR-200 HIGH FIDELITY SPEAKER SYSTEM
TOP
10759#

回复 10765# 刘罗锅 的帖子

没图?
TOP
10760#

原帖由 Jason_WY_Ma 于 2010-4-13 22:45:00 发表
[quote] 原帖由 Jason_WY_Ma 于 2010-4-13 22:41:00 发表
今天心血来潮,按下图改制了我的EL84小单端。和原来的线路相比,增加了第一级的放大倍数,全机的放大倍数也增加了。耦合还是TCC瓷封,阴极电容是Philips的轴向和80S的Mallory的FP235,滤波我换上了刚激活的的66年Mallory。用GEC的B339和Valvo的碟片EL84


那个0.047的我觉得小了,我是用0.1的。我觉得0.25~0.1比较合适的
TOP
发新话题 回复该主题